Valves - tank valves

Divert valves

Overview

ASEPCO Weirless Radial diaphragm™ Divert valve

Designed specifically to meet the stringent requirements of the bioprocessing industry Weirless Radial diaphragm tank valves offer solutions to the most challenging applications. It is easy to weld our valves truly flush to the bottom of your tank with our heavy‑duty, thick weld flange. There are no gaskets, bolts or seams.

Features and benefits

  • Accommodates our contamination-free clamp assembly technology making the valves easy to fit in place, inspect and maintain
  • Designed to allow division and blending of up to three lines in a single valve body
  • Flush mount design
  • Simple clamp assembly
  • Change diaphragms in seconds
  • Minimizes distances between each valve seat (fewer and shorter dead legs)
  • Self-draining with full CIP/SIP capability
  • Available valve sizes: 0.5″, 1.0″, 2.0″, 2.5″, and 3.0″

Technical summary

Mounting typeFlush 
Outlet connectionsButtweld, Sanitary flange 
Max. operating pressure17 bar
Max. operating pressure250 psi
Compatible actuatorsAutoclavable manual, Compact, Normally closed pneumatic, Normally open pneumatic 
Compatible diaphragmsEPDM, PTFE, Silicone, Silicone plus, Viton 
Surface finish optionsElectropolished, Max 10 micro-inch Ra (0.25 µm Ra), Max 15 micro-inch Ra (0.375 µm Ra), Max 20 micro-inch Ra (0.5 µm Ra) 
Certification and complianceISO 9001 
StandardsASME BPE, CE-PED 

Technical Summary table lists features available within the range. See ‘Specifications’ tab for model specific information.

Performance

Divert valve flow rates
Size Cv at 1 psi (0.07 bar)
inches GPM LPM
0.50 4.3 16.3
1.00 15.8 59.8
1.50 (True) 48 182
1.50 56 212
2.00 72 273
2.50 90 341
3.00 170 643

Specifications

Technical specifications

Divert valves
Mounting typeFlush 
Flow rate16.3 - 643 l/m
Flow rate4.3 - 170 USGPM
Sizes0.5", 1.0", 1.5", 2.0", 2.5", 3.0" 
Outlet connectionsButtweld, Sanitary flange 
Max. operating pressure17 bar (250 psi) 
Operating temperature-51 °C to 177 °C (-60 °F to 350 °F) 
Compatible actuatorsAutoclavable manual, Compact, Normally closed pneumatic, Normally open pneumatic 
Compatible diaphragmsEPDM, PTFE, Silicone, Silicone plus, Viton 
Surface finish optionsElectropolished, Max 10 micro-inch Ra (0.25 µm Ra), Max 15 micro-inch Ra (0.375 µm Ra), Max 20 micro-inch Ra (0.5 µm Ra) 
Certification and complianceISO 9001 
StandardsASME BPE, CE-PED 
Weight0.9 - 17 kg (1.9 - 37.5 lbs)  

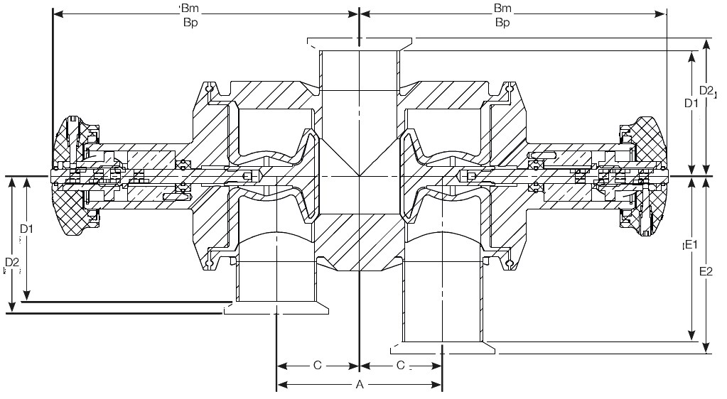
Divert valves dimensions

Dimensions image(s)
Size A Bm - with Manual Actuator C Bp - with Pneumatic Actuator D1 Weld-End Fitting D2 Clamp-End Fitting E1 Weld-End Fitting E2 Clamp-End Fitting
inches mm in mm in mm in mm in mm in mm in mm in mm in
0.50 39 1.55 105 4.13 124 0.77 20 4.90 50 1.96 53 2.08 75 2.96 78 3.08
1.00 54 2.13 128 5.05 169 1.06 27 6.66 61 2.40 64 2.53 86 3.40 89 3.53
1.50 (True) 80 3.13 142 5.60 188 1.56 40 7.41 68 2.67 71 2.79 93 3.67 96 3.79
1.50 105 4.13 188 7.39 210 2.06 52 8.25 82 3.22 85 3.35 107 4.22 110 4.35
2.00 188 7.40 194 7.64 216 3.70 94 8.50 80 3.13 83 3.25 105 4.13 108 4.25
2.50 163 6.41 230 9.07 290 3.25 83 11.42 91 3.59 94 3.71 117 4.59 120 4.71
3.00 152 6.00 230 9.07 290 3.00 76 11.42 91 3.59 94 3.71 117 4.59 120 4.71

Weights

Size Valve Body Total Weight with Pneumatic Actua-tor Total Weight with Manual Actuator
inches Kg lb Kg lb Kg lb
0.50 0.9 1.9 1.7 3.6 1.6 3.8
1.00 2.3 5.0 4.2 10.0 4.5 9.2
1.50 (True) 4.3 9.5 5.9 14.5 6.6 13.1
1.50 7.9 17.5 10.9 25.9 11.7 24.0
2.00 8.4 18.5 11.3 36.9 16.7 25.0
2.50 17.0 37.5 20.2 61.2 27.7 44.5
3.00 16.8 37 19.9 60.7 27.5 44

Materials of construction

MaterialHastelloy C22, Hastelloy C276, Polypropylene, Stainless steel 316L, Stainless steel AL-6XN

Documentation

Brochures

  1. ASEPCO weirless radial diaphragm valves (EN).pdf
    PDF - 600,3kb

Datasheets

  1. Divert valves datasheet (EN).pdf
    PDF - 1mb

Manuals

  1. Tank valve manual (EN).pdf
    PDF - 2,4mb

Actuators

Actuators

The AKS actuator series** for tank valves is a durable, easy to maintain actuator made of a plastic housing and stainless steel diaphragm interface. The resulting actuator is a hygienic design which is GMP-compliant.

Our tank valve actuators are also available in the AJS actuator series an all stainless steel actuator providing all the same performance, but in a heavy-duty package.

Both versions offer manual and pneumatic options, are provided with laser-etched serial numbers for traceability, and carry a market-leading three year warranty. It is straightforward to add automation to the pneumatic versions by mounting switches or controllers from any manufacturer.

Work with all manufacturers linear switches and controllers (i.e. Westlock, Stonel, Burkert, etc.)

**AKS actuator series only available on 0.5" to 1.5" sizes

Diaphragms

Diaphragms

Multiple materials cope with virtually every temperature, pressure and chemical challenge in the food and biopharm industries.

Materials include:

  • Silicone
  • EPDM
  • Silicone plus
  • Viton A
  • Viton A (steam resistent)
  • Viton GF
  • PTFE

All diaphragms are laser-etched with cure dates and batch numbers, ensuring that they are completely traceable.

Order Information

Product codes

Size Model code Description
0.5 DV05-706-1 Radial valve 0.5" Divert Double-valve EN 1.4435 body/EN1.4404 fittings 0.5" Clamp-end Spool 0.487" long 0.5" clamp-end outlet 2.96" from centerline Flush diaphragm & 0.5" clamp-end port 2.08" from centerline Flush diaphragm at 180 ° 0.5" clamp-end outlet 2.08" from centerline Flush diaphragm 20 micro-inch Ra surface finish electropolished and passivated includes body/actuator clamp
1.0 DV05-706-2 Radial valve , 0.5" Divert, Double-valve EN 1.4435 body/EN1.4404 fitting(s), 0.5" Clamp-end Spool, 1.625" long, 0.5" clamp-end outlet, 2.96" from centerline, Flush diaphragm, & 0.5" clamp-end port, 2.08" from centerline, Flush diaphragm at 180 °, 0.5" clamp-end outlet 2.08" from centerline Flush diaphragm 15 micro-inch Ra surface finish, electropolished and passivated, includes body/actuator clamp
1.50 (True) DV05-706-3 Radial valve 0.5" Divert Double-valve 316L/EN1.4404 0.5" Clamp-end 0.487" 0.5" clamp-end outlet 2.96" from centerline Flush diaphragm & 0.5" clamp-end port 2.08" from centerline Flush diaphragm at 180 ° 0.5" clamp-end outlet 2.08" from centerline Flush diaphragm 10 micro-inch Ra surface finish electropolished and passivated includes body/actuator clamp
1.5 DV17-101-1 Radial valve 1.5" Divert Double-valve EN 1.4435 body/EN1.4404 fittings 1.5" Clamp-end Spool 0.487" long 1.5" clamp-end outlet 2.8" from centerline Flush diaphragm & 1.5" clamp-end port 2.8" from centerline Flush diaphragm at 180 ° 1.5" clamp-end outlet 2.8" from centerline Flush diaphragm 20 micro-inch Ra surface finish electropolished and passivated includes body/actuator clamp
2.0 DV17-105-1 Radial valve , 1.5" Divert, EN 1.4435 body/EN1.4404 fitting(s), Spool, 1.5" Clamp-end inlet 2.8" from centerline, 1.5" clamp-end outlet, 4.2" from centerline with 0.75"condensate, Flush diaphragm, & 1.5" clamp-end port, 4.2" from centerline with 0.75" condensate, Flush diaphragm at 180 °, 20 micro-inch Ra surface finish, electropolished and passivated includes body/actuator clamp
2.5 DV17-105-2 Radial valve , 1.5" Divert, EN 1.4435 body/EN1.4404 fitting(s), Spool, 1.5" Clamp-end inlet 2.8" from centerline, 1.5" clamp-end outlet, 4.2" from centerline with 0.75"condensate, Flush diaphragm, & 1.5" clamp-end port, 4.2" from centerline with 0.75" condensate, Flush diaphragm at 180 °, 15 micro-inch Ra surface finish, electropolished and passivated includes body/actuator clamp
3.0 DV20-705-1 Radial valve 2" Divert Double-valve EN 1.4435 body/EN1.4404 fittings 2" Clamp-end Spool 3.25" long 2" clamp-end outlet 3.25" from centerline Flush diaphragm 2" clamp-end outlet 3.25" from centerline Flush diaphragm 20 micro-inch Ra surface finish electropolished and passivated includes body/actuator clamp

Recommended Products

  1. EPDM diaphragms

    EPDM diaphragms

    EPDM diaphragms. Not suitable for use with solvents or petroleum agents.

    Valves - diaphragms

  2. PTFE diaphragms

    PTFE diaphragms

    Long-lasting, quick-change diaphragms. Extremely chemical and steam resistant. Only available for tank valves.

    Valves - diaphragms

  3. Viton diaphragms

    Viton diaphragms

    Excellent heat and chemical resistance. Not suitable for use with ketones and esters. Steam resistant version available.

    Valves - diaphragms

Related Products

  1. Insulate valves

    Insulate valves

    Use with freeze tanks or tanks requiring critical temperature control. Extended body and diaphragm.

    Valves - tank valves

  2. Point-of-use valves

    Point-of-use valves

    Created for low-point draining or sampling in piping systems, this valve eliminates dead legs and helps promote drainage.

    Valves - tank valves

  3. Process valves

    Process valves

    A valve with a simple clamp connection for easy installation. Allows steam-in-place or flush through, without dead legs.

    Valves - tank valves

  4. Retrofit valves

    Retrofit valves

    Used to add ASEPCO valves to existing tanks. Many different designs to fit your specific situation.

    Valves - tank valves

  5. Sterillite valves

    Sterillite valves

    An integrated steam valve added to our tank-bottom valve. Allows steam-in-place or flush through, without dead legs.

    Valves - tank valves

  6. Tangential valves

    Tangential valves

    Off-centre outlet for full drainability when installed on the slope of a vessel head.

    Valves - tank valves

  7. Tank-bottom valves

    Tank-bottom valves

    The leading aseptic tank-bottom valve. Available in multiple configurations including custom-machined.

    Valves - tank valves

  8. Zero dead leg valves

    Zero dead leg valves

    For use in situations where sampling, draining, transferring or directing fluid from a line is necessary.

    Valves - tank valves

ASEPCO Weirless Radial diaphragm divert valve - the leading aseptic tank valve.

To order a product or ask a question

Contact our experts